HABER

Kapat

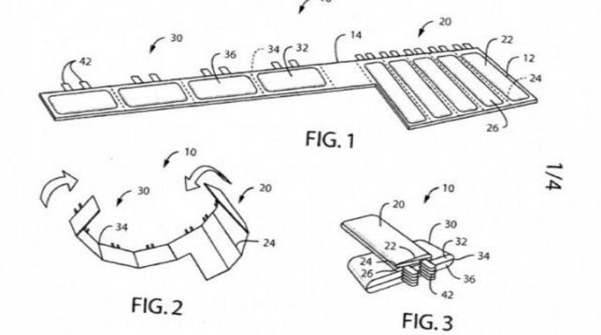
Nokia’dan katlanabilir batarya

Esnek telefonlar son zamanda gündemden düşmeyen haberler haline gelmişken Nokia bu konuda bir patenti aldı.

Nokia’dan katlanabilir batarya

Katlanabilir batarya patentini alan Nokia’nın aldığı bu patent birçok kişiye göre ilginç bir teknoloji. Son zamandaki çıkan LG’den G Flex ve Galaxy Round gibi cihazlar ile gündeme gelen esnek telefonlar için bu tarz bataryalarda çok önemli bir yer kaplıyor. Eğer bataryanin esneme veya katlanma durumu yok ise bu çok zor gibi görünüyor. Nokia’da bu konuda çalışmalarının olabileğini gösteren bir patent olan katlanabilir batarya patentini aldı.

Bundan bir süre önce Nokia’nın nano teknolojik ile akıllı telefon üreteceği konusunda söylentiler bulunmaktaydı. Nokia aldığı bu patent ile yavaş yavaş bu konuda çalışmalarına başladığını teyit ediyor gibi. Nokia’nın aldığı bu patentteki batarya ise şu anlık sadece katlanabilir yapıda. Bu da katlanabilir hücreler ile esnek ve katlanabilen bir batarya halini almış. Bu patent sayesinde artık katlanabilir telefonlara çok daha yakınız gibi görünüyor. Bu teknolojinin getirdiği bir yenilikte artık telefonların daha ince ve küçük olabileceği. Telefonlarda büyük bir yer kaplayan bataryalar küçültülerek artık telefonlar daha küçük olabilecek.

Bakalım Nokia’nın aldığı katlanabilir batarya ile beraber bu teknolojide gelişmeler ne yönde olacak. Bu konuda haberleri sitemizden takip etmeye devam edebilirsiniz.

Tüm haberler

YORUMLARI GÖR ( 0 )

En Çok Aranan Haberler

Kapat